隆中新品:打樁盾構泥漿處理設備——泥漿凈化系統
NJFX系列泥漿凈化系統
NJFX系列泥漿凈化系統是隆中重工自主開發的建筑工程泥漿處理專用設備,屬于環保類高新性技術產品。該裝置將振動篩分與旋流分離這兩種不同的泥漿凈化方式合理地結合在*起,形成*個對泥漿處理的閉路循環凈化系統,適合于現代基礎施工中采用泥漿護壁,循環鉆進工藝的樁基工程、防滲墻工程、泥水平衡法盾構和頂管施工中泥漿的凈化。
使用泥漿凈化系統有利于控制泥漿指標、提高造孔質量和造孔工效、縮短清孔時間、泥漿凈化回收、降低施工成本、減少卡鉆事故、減少環境污染,是基礎文明施工的*備設備之*。

設計亮點
1、泥漿凈化效果好,廢漿可循環利用。經過泥漿凈化系統分離后,廢水含泥量<3%,可確保在上述施工條件下的清孔、灌注、護壁的泥漿使用要求。而沙子含水量<15%,可直接出售,實現盈利。
2、效率高,我公司泥漿凈化系統單位時間處理量大,可以大量節約廢棄泥漿的處理費用,大大減少廢漿的外運處理量,節約工程開支。
3、旋流器為廠家訂制,可20度 、 15度 、 8度多次變徑,針對不同物料、濃度進行調整,實現*佳分離效果。
4、振動電機g端配置,無需加油,保養很方便。提供橫向豎向兩種擺放方式。
5、密封性好,防止漏料,防泥漿飛濺,使用環境干凈整潔,創造文明施工環境。
6、整機防腐,管道內刷玻璃鋼,使用年限長。
7、其他部件,如篩網,電控箱等相關配件,均采用**品牌,保證整機*運行。

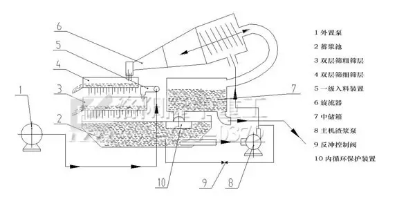
工作原理詳析(如上圖)
外置泵1(液壓螺桿泵)將現場廢漿池中的泥漿抽至振動篩粗篩層3 ,通過振動篩粗篩層3篩分過后,大于2mm以上的顆粒物將會排出,小于2mm的顆粒物會進入蓄漿池2內;
此時主機渣漿泵8將蓄漿池2中的泥漿泵送至旋流器6中,經過旋流分離以后,*大部分凈化分離后的達標漿液,將從旋流器6的溢口流出并進入中儲箱7中,旋流器6所分離出的廢渣則通過其底流口排出,進入振動篩細篩層4上,通過其篩振實現對廢渣的脫水并*終排除。
中儲箱7設有兩個出液口,*個是補液口其位置處在蓄漿池2的上方,*個是排放口位置處于蓄漿池2與中儲箱7連接以外的位置;內循環裝置10就安裝在中儲箱7的補液口處,它可以通過平衡蓄漿池2中的液位高度實現中儲箱7對蓄漿池2補液量的控制。當蓄漿池2不需要中儲箱7補水時,中儲箱7的補液口則被內循環裝置10關閉,此時,中儲箱7的排放口將處在連續排漿狀態。反沖控制閥9通過*個三通與主機渣漿泵相連,三通通過管道連接,分別連接旋流器6和主機渣漿泵8以及蓄漿池2,其作用是利用主泵的富余流量,通過反沖控制閥9實現對蓄漿池2中泥漿的攪拌,防止泥漿在設備內沉淀。
了解更多泥漿凈化系統信息,請聽下回分解!泥漿凈化系統詢價咨詢:400-658-0379.






